При оформлении заказа, Вы сообщаете менеджеру ТОО «КАСТОН» о необходимости заключения Договора. ТОО «КАСТОН» предоставляет на рассмотрение свой шаблон, либо принимает на рассмотрение Ваш.
Описание
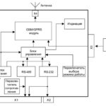
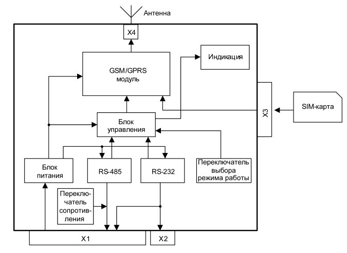
Преимущества GSM-модема ПМ01
Защита от зависания – автоматическая перезагрузка модема
Интерфейс RS-232 или RS-485
Два варианта напряжения питания: 24 В постоянного и 220 В переменного тока
Широкий диапазон температур: -30..+70
Области применения GSM/GPRS-модема ОВЕН ПМ01
- Системы сбора данных, диспетчеризации и управления
- Автоматические терминалы самообслуживания (платежные, вендинг и др.)
- Системы охранной и противопожарной безопасности
- Удаленный контроль датчиков и различного оборудования, оснащенными последовательными интерфейсами
- Дистанционные измерения
- Доступ в Интернет
Прием и передача SMS
Прием и передача данных с помощью GPRS
Работа с последовательными интерфейсами RS-232 или RS-485
Позволяет производить управление приемом и передачей данных по последовательным интерфейсам RS-232 или RS-485 с помощью АТ-команд в соответствии со стандартами GSM 07.05 и GSM 07.07
Производит индикацию наличия обмена данными по последовательным портам RS-485 или RS-232
Производит индикацию наличия регистрации в сети GSM и наличия передачи данных в режиме GPRS
Технические характеристики
- Диапазон напряжений питания переменного тока ПМ01-220.АВ (частота): ~90…250В (47…63Гц)
- Максимальная потребляемая мощность, не более, ВА: 15;
- Рабочий частотный диапазон: EGSM900/DCS1800/PCS1900;
- Класс выходной мощности передатчика: 4 (EGSM900), 1 (DCS1800/PCS1900);
- Класс мобильного оборудования: В;
- GPRS мультислот класс: 10;
- Скорость обмена в режиме GPRS, бит/с: прием – до 85600, передача – до 42800;
- Поддерживаемые типы SMS: SMS-MO, SMS-MT, SMS-CB;
- Поддержка SIM-карт: 1,8 В и 3 В;
- Интерфейс связи с компьютером: RS-232/RS-485, RS-485;
- Диапазон скоростей обмена по последовательному интерфейсу связи , бит/с: 1200…115200;
- Степень защиты корпуса: IP20;
- Масса модема, кг, не более: 0,5;
- Габаритные размеры модема, мм: 120,1×107,1×22,5;
- Средний срок службы, лет, не менее: 8;
- Условия эксплуатации GSM/GPRS-модема ОВЕН ПМ01: Закрытые взрывобезопасные помещения без агрессивных паров и газов;
- Температура окружающего воздуха от -30 до +70 оС;
- Верхней предел относительной влажности: 80% при 25 С° без конденсации влаги;
- Атмосферное давление: от 85…107 кПа.
- Прибор
- Паспорт и Гарантийный талон
- Краткое руководство

Характеристики
DIN-рейка
IP20
-30…+70 °С
не более 0.5
102×23×121
~220В
Кастон — самый выгодный частотный привод!
- Выгодная цена
- Самый большой выбор со склада в Казахстане
- Свой сервисный центр, полная техподдержка навсегда
- Возврат или замена за наш счет
- Бесплатная доставка из рук в руки
Способы оплаты
- Безналичный перевод по выставленному счету на оплату
- Безналичный перевод с банковской карты
- Наличный расчет в нашем офисе при получении товара
Бухгалтерские документы высылаем с товаром. В случае оплаты безналичным расчетом доставка товара производится после подтверждения транзакции банком ТОО «КАСТОН». После получения подтверждения с Вами свяжется наш менеджер.
В случае возникновения вопросов, пожалуйста, обращайтесь любым удобным для Вас способом по указанным контактам.
Бухгалтерские документы предоставляются по всем оплаченным заказам.
При физической доставке товара, бухгалтерские документы Вы получите вместе с товаром.
В случае, если по каким-либо причинам не удалось передать документы вместе с товаром, документы высылаем на почтовый адрес, указанный при оформлении.
Прием онлайн-заказов осуществляется круглосуточно.
Обработка заказов и физическая доставка осуществляются по рабочим дням, с 9 до 18 часов (по времени Нур-Султан).
Способы доставки
- Самовывоз (бесплатно)
- Курьерская доставка*
- Общественным транспортом (автобус, такси)*
*— доставка осуществляется бесплатно по Республике Казахстан.
- В случае непредвиденных обстоятельств, мешающих Вам получить заказ в выбранное время, необходимо связаться с нами по указанным контактам и определить другое время доставки.
- Если оператор не может дозвониться по указанному Вами телефону в течение 5-ти рабочих дней, Ваш заказ аннулируется. В случае невозможности дождаться звонка, пожалуйста, свяжитесь с нами самостоятельно по указанным контактам.
По договоренности с менеджером ТОО «КАСТОН» Вы сможете забрать свой заказ по адресу: город Караганда, ул. Памирская 48. Обратите внимание, что необходимо заранее сообщить о своем прибытии.
— Курьерская служба оставляет за собой право проверять правильность указанной Клиентом контактной информации.
— Курьер не уполномочен давать какие-либо консультации на технические или коммерческие темы, а также выполнять любые поручения клиента.
— Разгрузка и подъем габаритного груза осуществляется силами Заказчика, либо по договоренности с менеджером ТОО «КАСТОН»
— При получении товара в транспортной компании просьба предельно внимательно отнестись к проверке качества товара, а также к проверке на соответствие получаемого оборудования товарной накладной.
— В случае обнаружения механических повреждений и/или несоответствия количеству позиций товарной накладной необходимо составить коммерческий акт с подробной описью полученного товара. Составление коммерческого акта – непосредственная обязанность сотрудников транспортной компании. Копию акта вместе с подробными фотографиями необходимо в кратчайшие сроки (1-2 дня) отправить на info@kaston.kz, а также на почту вашего персонального менеджера.
— Претензии по поставке оборудования принимаются в срок не более 2 (двух) рабочих дней с момента получения оборудования.
Обращаем ваше внимание, что осуществление доставки – отдельная услуга, не являющаяся неотъемлемой частью приобретаемого Покупателем товара, выполнение которой заканчивается в момент получения клиентом товара и его оплаты.
Претензии к качеству приобретенного товара, возникшие после этого, рассматриваются в соответствии с Законом РК «О защите прав потребителей» и гарантийными обязательствами Продавца товара. В связи с этим приобретение товара с доставкой не дает Покупателю права требования доставки приобретенного товара в целях гарантийного обслуживания или замены, не дает возможности осуществлять гарантийное обслуживание или замену товара посредством выезда к Покупателю и не подразумевает возможности возврата стоимости доставки товара в случаях, когда Покупатель имеет право на возврат денег за товар как таковой, в соответствии с Законом РК «О защите прав потребителей».
При получении товара юридическими лицами необходима доверенность на право получения товарно-материальных ценностей (ТМЦ) на представителя покупателя при предъявлении документа, удостоверяющего личность.
При получении товара индивидуальными предпринимателями необходима печать или копия свидетельства о регистрации предпринимателя, копия удостоверения личности предпринимателя.
При получении товара доверенным лицом ИП, необходим оригинал доверенности, оформленной на лицо, получающее товар, копия свидетельства о регистрации предпринимателя, копия удостоверения личности предпринимателя, удостоверение личности доверенного лица.
При получении товара физическими лицами обязательным является предъявление удостоверения личности покупателя.
Документы
технологическое решение для вашего бизнеса.







