При оформлении заказа, Вы сообщаете менеджеру ТОО «КАСТОН» о необходимости заключения Договора. ТОО «КАСТОН» предоставляет на рассмотрение свой шаблон, либо принимает на рассмотрение Ваш.
Описание
СМИ2-М имеет конструктивное исполнение СМИ2, но отличается рядом улучшений – трехцветным индикатором, наличием интерфейса MicroUSB для конфигурирования прибора и расширенным программным функционалом.
Режимы работы
Для получения отображаемого значения в приборе используется интерфейс RS-485 и протокол Modbus RTU/ASCII. СМИ2-М имеет три режима работы.
- Master – индикатор выступает в роли мастер-устройства, опрашивая другой прибор и отображая значение одного из его параметров. Это позволяет отображать данные устройства, которое может работать только в режиме slave (ТРМ, ПЧВ). Изменение цвета индикатора и включение мигания происходит согласно встроенной логике индикатора, заданной пользователем.
- Slave – индикатор отображает значение, полученное от мастер-устройства (например, ПЛК или ПР). Изменение цвета индикатора и включение мигания может происходить или по команде от мастер-устройства (согласно его программе), или по встроенной логике СМИ2-М. К одной шине RS-485 может быть подключено множество индикаторов.
- Spy – индикатор подключается к шине, в которой уже есть мастер-устройство и «прослушивает» трафик, ожидая запроса или ответа с заданными параметрами (адрес устройства, код функции, адрес регистра). Это позволяет использовать прибор в уже эксплуатируемых системах, где нет возможности осуществить перенастройку оборудования. Еще один вариант использования данного режима – синхронное обновление данных на множестве индикаторов с помощью широковещательной рассылки (broadcast) от мастер-устройства на адрес 0. Для каждого индикатора задается индивидуальный номер регистра в прослушиваем запросе, что позволяет каждому прибору извлечь из широковещательного запроса «свои» данные.
Технические характеристики
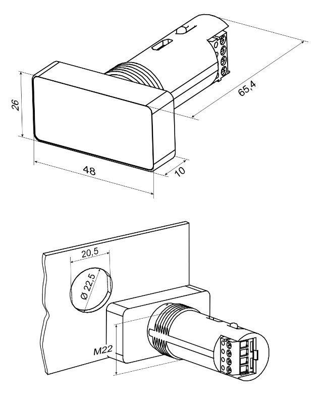
- Габариты, Ш×В×Г: 48×26×65,4 мм;
- Рабочий диапазон температур: -40…70 °C;
- Степень защиты с лицевой стороны: IP65;
- Индикатор: четырехразрядный семисегментный;
- Высота сегментов: 14 мм;
- Количество цветов: 3 (зеленый/красный/желтый);
- Интерфейс: RS-485;
- Поддерживаемые протоколы: Modbus RTU/ASCII (Master, Slave, Spy);
- Гальваническая изоляция: есть, между питанием и RS-485, не менее 500 В;
- Интерфейс конфигурирования: MicroUSB;
- Питание: 10…48 В (номинальное =24В);
- Потребляемая мощность: 1,6 Вт.
Характеристики
4 (э/м реле)
4 (4…20 мА, 0…10 В, Pt1000, NTC, РТС, 0…300 кОм и др)
IP65
RS485 (MODBUS SERIAL)
-40…+70 °С
0,15
26×48×76
=24В
Modbus-индикатор
Кастон — самый выгодный частотный привод!
- Выгодная цена
- Самый большой выбор со склада в Казахстане
- Свой сервисный центр, полная техподдержка навсегда
- Возврат или замена за наш счет
- Бесплатная доставка из рук в руки
Способы оплаты
- Безналичный перевод по выставленному счету на оплату
- Безналичный перевод с банковской карты
- Наличный расчет в нашем офисе при получении товара
Бухгалтерские документы высылаем с товаром. В случае оплаты безналичным расчетом доставка товара производится после подтверждения транзакции банком ТОО «КАСТОН». После получения подтверждения с Вами свяжется наш менеджер.
В случае возникновения вопросов, пожалуйста, обращайтесь любым удобным для Вас способом по указанным контактам.
Бухгалтерские документы предоставляются по всем оплаченным заказам.
При физической доставке товара, бухгалтерские документы Вы получите вместе с товаром.
В случае, если по каким-либо причинам не удалось передать документы вместе с товаром, документы высылаем на почтовый адрес, указанный при оформлении.
Прием онлайн-заказов осуществляется круглосуточно.
Обработка заказов и физическая доставка осуществляются по рабочим дням, с 9 до 18 часов (по времени Нур-Султан).
Способы доставки
- Самовывоз (бесплатно)
- Курьерская доставка*
- Общественным транспортом (автобус, такси)*
*— доставка осуществляется бесплатно по Республике Казахстан.
- В случае непредвиденных обстоятельств, мешающих Вам получить заказ в выбранное время, необходимо связаться с нами по указанным контактам и определить другое время доставки.
- Если оператор не может дозвониться по указанному Вами телефону в течение 5-ти рабочих дней, Ваш заказ аннулируется. В случае невозможности дождаться звонка, пожалуйста, свяжитесь с нами самостоятельно по указанным контактам.
По договоренности с менеджером ТОО «КАСТОН» Вы сможете забрать свой заказ по адресу: город Караганда, ул. Памирская 48. Обратите внимание, что необходимо заранее сообщить о своем прибытии.
— Курьерская служба оставляет за собой право проверять правильность указанной Клиентом контактной информации.
— Курьер не уполномочен давать какие-либо консультации на технические или коммерческие темы, а также выполнять любые поручения клиента.
— Разгрузка и подъем габаритного груза осуществляется силами Заказчика, либо по договоренности с менеджером ТОО «КАСТОН»
— При получении товара в транспортной компании просьба предельно внимательно отнестись к проверке качества товара, а также к проверке на соответствие получаемого оборудования товарной накладной.
— В случае обнаружения механических повреждений и/или несоответствия количеству позиций товарной накладной необходимо составить коммерческий акт с подробной описью полученного товара. Составление коммерческого акта – непосредственная обязанность сотрудников транспортной компании. Копию акта вместе с подробными фотографиями необходимо в кратчайшие сроки (1-2 дня) отправить на info@kaston.kz, а также на почту вашего персонального менеджера.
— Претензии по поставке оборудования принимаются в срок не более 2 (двух) рабочих дней с момента получения оборудования.
Обращаем ваше внимание, что осуществление доставки – отдельная услуга, не являющаяся неотъемлемой частью приобретаемого Покупателем товара, выполнение которой заканчивается в момент получения клиентом товара и его оплаты.
Претензии к качеству приобретенного товара, возникшие после этого, рассматриваются в соответствии с Законом РК «О защите прав потребителей» и гарантийными обязательствами Продавца товара. В связи с этим приобретение товара с доставкой не дает Покупателю права требования доставки приобретенного товара в целях гарантийного обслуживания или замены, не дает возможности осуществлять гарантийное обслуживание или замену товара посредством выезда к Покупателю и не подразумевает возможности возврата стоимости доставки товара в случаях, когда Покупатель имеет право на возврат денег за товар как таковой, в соответствии с Законом РК «О защите прав потребителей».
При получении товара юридическими лицами необходима доверенность на право получения товарно-материальных ценностей (ТМЦ) на представителя покупателя при предъявлении документа, удостоверяющего личность.
При получении товара индивидуальными предпринимателями необходима печать или копия свидетельства о регистрации предпринимателя, копия удостоверения личности предпринимателя.
При получении товара доверенным лицом ИП, необходим оригинал доверенности, оформленной на лицо, получающее товар, копия свидетельства о регистрации предпринимателя, копия удостоверения личности предпринимателя, удостоверение личности доверенного лица.
При получении товара физическими лицами обязательным является предъявление удостоверения личности покупателя.
Документы
технологическое решение для вашего бизнеса.




![ПР200-220.25.0.0[M01] программируемое реле с дисплеем](https://kaston.kairbekov.com/wp-content/uploads/2025/07/3.1_2_3_pr200-220_vid-20-300x300.jpeg)


